
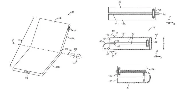
Компания Apple запатентовала проект нового iPhone с гибким экраном. Судя по чертежам, предоставленным в патентное бюро, проект нового iPhone подразумевает возможность складывания устройства в обе стороны.
Разобрав чертёж мы видим, что компания Apple патентует 3 типа устройств.
Первый, экран после складывания оказывается внутри.
Второй, экран после складывания оказывается наружу.
Третий, на мой взгляд самый интересный, который использует два предыдущих варианта и согнутое в двух местах.
Благодаря данным чертежам становится понятно, что компания Apple уже занимается разработкой документации для будущих проектов гибкого iPhone, как показывает практика реализация данного проекта начнется не раньше, чем через 2-3 года.
Также есть опасение что компания Apple данным патентом организовывает монополию и в дальнейшем будет подавать в суд на всех, кто представит устройства с похожей технологией, ведь компания из Купертино давно известна своими юристами и исками в суд на другие компании.



